Сооружаем печь
Для печи мощностью в 25КВт и обогрева площади в 60 м2понадобится:
- Кирпич — 400 шт.
- Шамотный кирпич — 100 шт.
- Лист стали в 4 мм 6×1,5 метра.
- Вентилятор.
- Чугунные колосники — 3 шт.
- Терморегулятор.
- Дверцы для камеры и зольного отсека.
Готовим раствор для работы с кирпичом

глину, чистый песок (мытый) и водураствора для кладки
Раствор: 4 части глины +8 ч. песка + 1ч. воды. Такой «рецепт» однозначно выдерживает до 1000 °C, причем не меняя своих качественных характеристик. Коэффициент теплового расширения аналогичен кирпичу, что исключает деформацию при циклах охлаждения-нагревания.
Есть несколько способов приготовления растворов. Один из них: в замоченную на сутки глину необходимо добавить равное глине количество воды. Получается консистенция, напоминающая густые сливки. Выдержанный раствор нужно пропустить сквозь сито, и смешать с песком. Регулируем консистенцию. Образовавшаяся на поверхности лужица укажет на недостаток песка.
Немного о кирпиче
Народные умельцы используют для футеровки топки шамотные кирпичи. Такой материал способен продержаться не больше сезона. Не спасет от прогорания и металл для воздухоотводов в 5мм — потребуются специальные стали.
Зарубежные производители делают их из керамики, но ссылаясь на опыт эксплуатации можно заверить начинающих мастеров, что зоны металла, не подвергавшиеся охлаждению, при соприкосновении с горящими газами быстро деформируются. Скорректировать процесс можно используя толстый металл— от 10 мм или делать двойные стальные стенки.
Приступаем к работе
Из шамотного кирпича делаем теплообменник, разделенный на две камеры. Одну для газификации, вторую — до сгорания выделенных газов. При расположении желательно исходить из того, что первичная подача воздуха идет сверху, а летучие вещества перемещаются вниз и догорают в камере.
Колосниковые решетки монтируются в свободном положении— при нагревании они расширятся, и заполняют допущенные зазоры.

дверцы камер
Приспосабливаем вентилятор. Механизм необходим для противостояния аэродинамического сопротивления и без него не обойтись.
Печная конструкция готова и достойна всяческих похвал. Сдаем работу семье. Возможно, представленная схема позволит самостоятельно соорудить недорогую, но функциональную систему отопления. О результате своей работы можно будет судить по окончанию отопительного сезона.
Виды печей по материалу
Банные печи с баком для воды делаются из двух материалов:
Металлические устройства делают в основном из чугуна, стали. На рынке существует множество моделей. По форме они бывают квадратные, прямоугольные и могут быть даже цилиндрической формы.
ПЛЮСЫ:
- невысокая цена
- простой монтаж
- нет необходимости в фундаменте
- быстрый нагрев парилки
МИНУСЫ:
- плохая устойчивость к перепадам температуры
- быстро остывают
Кирпичные печи
ПЛЮСЫ:
- они имеют более эстетичный вид
- дольше удерживают тепло в бане
- дольше служат
МИНУСЫ:
- нужен фундамент
- больше трудозатрат при обустройстве
Веранда пристроенная к дому – расширяем жизненное пространство: проекты, советы как создать своими руками (200 оригинальных фото идей)
Способы повышения КПД печи
Повышение эффективности оборудования, экономичный расход топлива возможен при полном сгорании.
Когда дрова находятся сверху колосниковых решеток, первичный воздух проходит снизу сквозь решетку из поддувала. Этот воздух способствует окислению топлива с выделением паров воды, углекислого газа. Как только увеличивается температура дров, начинают выделяться горючие газы. Они догорают в пространстве прямо над топливом и соприкасаются с коксовыми элементами, образуя угарный газ.
Если этого не сделать, будет недожог дров, повышенное оседание сажи сверху камней. Следствие – снижается теплоотдача, повышается риск пожара из-за большого количества сажи в трубах.
В начале и в конце топки в топливник заходит избыток воздуха. Интенсивность горения дров снижается. Тепло уходит через дымоход вместе с дымовыми газами. Для снижения потерь тепла лучше прикрывать задвижки на дымоходе.
К другим способам увеличения КПД стоит отнести:
- Увеличение объема камней.
- Увеличение площади нагреваемой поверхности.
- Уменьшение толщины стенок конструкции (материал – металл).
Необходимо учесть прямую зависимость размеров топки и расхода топлива. Чем больше объем топки, тем больше и расход топлива. При этом растет и теплоотдача печи.
Подготовка подложки
Металлическая печь не требует сложного фундамента, т.к. сама по себе имеет незначительный вес. Однако даже такая конструкция приветствует подложку, чтобы напольный настил не просел и не воспламенился:
- Сначала в напольном настиле создается отверстие под углубление;
- Далее ниже напольного настила выкапывается яма глубиной 0,5 м;
- Следующий этап – засыпание дна песком и щебнем;
- Поверх дренажной основы укладывается рубероид;
- Оставшееся место заполняется металлическим каркасом и заливается цементным раствором;
- Выше монолитной подложки укладывается следующий лист рубероида;
- Над рубероидом идет укладка 3-рядных стен из красного огнеупорного кирпича.
Кладка идет до тех пор, пока стены подложки не достигнут уровня чистового напольного настила.
Кирпичная или железная?
Долгое время вопрос о том, какая печь лучше — кирпичная или железная — даже не стоял: выкладывали из кирпичей и оставались довольны. В принципе, людей можно понять:
- высокий уровень безопасности;
- продолжительное сохранение необходимых эксплуатационных качеств;
- отличный пар и сила традиций.
Но вот сколько времени и сил, как физических, так и моральных, тратилось на обустройство такого варианта, история умалчивает. А мы молчать не будем:
- на строительство кирпичной печи для бани потребуется как минимум 2 месяца;
- затраты на специалистов, которые смогут выполнить правильную кладку составят приблизительно 90 процентов от всей стоимости материалов;
- потребуется немалое количество дров, чтобы растопить кирпичную печь.
Однако это вовсе не означает, что железная печь — универсальное решение, сплошь щеголяющее плюсами. По сути, устройство такой печи является более экономичным вариантом, особенно если вы имеете дело с небольшой семейной парной, рассчитанной приблизительно на 20-25 квадратных метров. И разогревается она гораздо быстрее, чем кирпичная альтернатива. Но и остывает так же шустро — в отличие от кирпича, который после продолжительной растопки будет еще долго радовать вас своим теплом.
Добавим и еще один момент, который также влияет на выбор: железная печь не совсем не безопасна и требует возведение кирпичной или каменной кладки. Так вы сохраните тепло и оградите себя от ожогов и выброса вредных веществ. Обложить печь кирпичом в бане можно и самостоятельно, но это довольно утомительный и трудоемкий процесс.
Особенности конструкции, которые вы обязательно должны соблюсти при постройке печи для сауны
Как говорилось выше, печи могут быть металлические и кирпичные и их конструкции отличается между собой. Чтобы понять, какая из них будет удобнее для установки в конкретном помещении, нужно рассмотреть обе, чтобы вы сами сделали для себя правильный вывод!
Металлическая печь
Металлическая печь для сауны с водяным баком
Чугунные и стальные варианты дровяных печей для бани имеют одинаковое устройство, а их установка может быть произведена по двум вариантам, в зависимости от их конструкции:
- топка расположена в предбаннике, а каменка в парилке;
- топка и каменка расположены в банном помещении.
Первый вариант предпочтительнее, так как в парилке можно случайно обжечься о дверцу топки. Вместе с каменкой в парилке располагают и водяной бак.
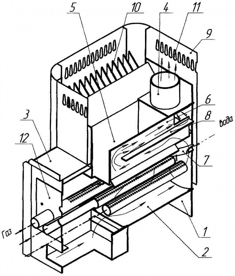
На данной схеме представлена конструкция модели печи для сауны, в которой топка выходит в предбанник.
Конструкция дровяной металлической печи для сауны
- В данной печи предусмотрен дозатор воды. Он удобен тем, что не нужно постоянно подливать на каменку жидкость — воду или отвар, она сама постепенно будет поступать в заданном количестве. Он показан на схеме под номером один.
- Под номером два на схеме расположилась закрытая водяным дозатором каменка, которая нагреваясь, будет долго отдавать дар. В связи с тем, что металлическая печь быстро остывает, закрытая каменка будет хорошим подспорьем для сохранения тепла.
- Через каменку проходит из топки дымоотводная труба. Ее расположение также способствует задержке жара около камней.
- С другой стороны трубы находится вторая часть каменки — уже в открытом виде. Вода из дозатора, проходя через закрытую камеру первой каменки и под трубой, выходит через открытую каменку в виде сухого пара.
- Глубокая и объемная топка, изготовленная из жаростойкой стали имеет хромированное покрытие.
- В топке уложен колосник из чугуна, который долго остывает, а значит, также сохраняет жар от топлива.
- Под топкой находится камера зольника с выдвижным ящиком. Там собираются отходы от горения дров, и его нужно очищать после каждого протапливания печи.
- Из топки выходит выносной канал, имеющий определенную длину, рассчитанную на толщину стены, через которую он будет проходить. Эта модель изготовлена для установки ее таким образом, чтобы дверца топки находилась в соседнем помещении.
- На топочном канале установлена самоохлаждающаяся дверца. Она быстро остывает благодаря тому, что располагается достаточно далеко от топочной камеры.
- С задней части топки, которой она выходит в парилку, проходит канал подачи вторичного воздуха.
- С передней части корпуса, со стороны, которая будет находиться около стены со стороны парилки, установлен кожух-конвектор, который способствует выходу согретого воздуха вверх, а не в стену.
- На трубу, которая проходит через каменку, надевается дымоход.
- На дымоотвод устанавливается водяной бак, работающий по принципу самовара. Нагретая труба внутри него будет служить хорошим теплообменником. Бак может заполняться водой вручную, или к нему можно подключить водопроводную подпитку.
Удобный бак для подогрева воды
- Далее на патрубок бака надевают стояк трубы дымохода, который проводится через перекрытие потолка и кровлю. При проходе через горючие материалы перекрытий дымоотвод нужно изолировать негорючими материалами. Толщина изолятора должна быть больше толщины перекрытия на 7-10 сантиметров и выходить в сторону чердака. Между перекрытием и трубой расстояние должно быть 10-15 сантиметров, заполненное негорючим изолятором. Иногда для укладки или засыпки изолятора устраивают короб.
- Вокруг оголовка трубы на кровле обязательно устраивается гидроизоляция, чтобы влага не смогла проникнуть в помещение чердака и не повредила деревянные элементы его конструкции.
Для установки металлической печи нужно правильно подготовить место — это должна быть негорючая площадка, выполненная из кирпича, бетона или керамической плитки и кирпичная стена, через которую будет проходить топочный канал.
Примерная схема установки металлической печи в сауне
Схема установки печи выглядит примерно так, как показано на рисунке. Возможны небольшие корректировки, например, в том случае, если печь устанавливается на кирпичный или бетонный подиум.
Банная печка, основание которой — труба
Особенное признание получили сделанные своими силами печи из кусков трубы. К трубе предъявляются строгие требования:
- толстые стенки (около 0,1 см);
- большой диаметр (больше 50 см);
- хорошее качество металла стенок (без участков, повреждённых коррозией).
Если есть такая заготовка, а размер её составляет 150 см, значит можно начинать работу. Весь процесс производства разбиваем на отдельные этапы.
Подготовительный этап
На этом этапе найденную заготовку трубы размечаем для изготовления двух основных деталей (бака и собственно печи). Размер участка, который будет использован для изготовления бака — 60 см, а остальная часть — 90 см. Разрезаем заготовку по разметке.
Изготовление водяной ёмкости

Торцевой участок
Другой торец будет закрываться крышкой из металла. На крышку приваривают ручки для её открывания или патрубок с отверстием. Это нужно, чтобы получить доступ к баку и заливать туда воду. Та часть, где выходит труба дымохода, заваривается по периметру трубы и бака. Часто верхняя часть дымохода выполняется из кирпича. Чтобы обеспечить его хороший контакт с металлическим участком, верхний край трубы приваривают к металлическому плоскому участку. Расстояние от верхней части бака до пластины — более 35 см. Бак должен иметь кран слива жидкости. Чтобы его установить, с одной из сторон вваривается небольшой кусок трубы.
Топка, каменка и поддувало
Для каждого из отсеков данного участка корпуса нужна своя дверца. Предлагается вырезать на передней части корпуса три отверстия:
- под каменку (30 см шириной и 20 см высотой);
- под топку (25 см x 30 см);
- для поддувала (20 см x 50 см).
Все дверцы можно изготовить из отрезанных частей металла. Над поддувалом необходимо установить колосник, заранее приобретённый в магазине. Он крепится к отверстиям в приваренной толстой пластине (1,2 см). В центре её предусмотрено место монтажа колосника в виде проёма соответствующего размеру детали.
Другая пластина должна стать основанием каменки. Её размещают над топкой, центр вырезают, чтобы поместить решётку из толстых прутков или уголков. Здесь следует уложить камни, подбор которых является делом ответственным. Отдельные включения камней могут привести к отравлению из-за высокой температуры в парной. Хороший вариант — камни гладкие, ровные, без крупных включений. Обычно это тёмно -серые или чёрные камни. Диаметр камня не имеет существенного значения.
Монтаж
Достоинством полученной конструкции является её небольшой вес. Однако, перед размещением её на территории бани, необходимо подготовить основание. Его обычные размеры — 70 см x70×20 см. Фундамент — кирпич, уложенный на растворе (лучше применять глиняную смесь).
Два ряда обычной кладки выполняются по стандартной технологии, высушиваются. Печь устанавливается на полученное основание.
Пожарная безопасность

соблюдение правил пожарной безопасности
Обложенная кирпичом конструкция может быть помещена на расстоянии 20 см от деревянной стены, а чисто металлическая — не ближе 100 см от аналогичной стены. Решением проблемы может стать установка теплоизоляции и отражателей на стену или стена, где будет стоять печь, выполняется из кирпича. Чаще всего такой стеной становится перегородка между предбанником и остальной баней. Топка в таком случае оказывается в предбаннике, создавая дополнительные удобства обслуживания и использования новой печки.
Плюсы и минусы
Как было сказано выше, можно установить печь либо из кирпича, либо из металла. И тот, и другой вариант имеют свои достоинства и недостатки.
Начать разговор следует с кирпичных печей, так как именно они являются более традиционными.
К преимуществам моделей данного типа можно отнести следующие аспекты.
- Тип тепла, которое излучает такая печка. Оно мягкое, не сухое и обжигающее, а максимально комфортное для человека. Температура может варьироваться в широком диапазоне.
- Время сохранения температуры. Такие печи долго разогреваются, но и долго не остывают. К примеру, стандартное время прогревания бани с дровяной печью-каменкой составляет десять часов, однако в течение такого же периода парная и не остывает.
Создающаяся атмосфера. В бане с кирпичной печью создается благоприятный микроклимат, не влияющий на самочувствие людей негативно. Речь идет о тех случаях, когда печь смонтирована правильно.
Легкая эксплуатация. Топить такую печь легко, как и осуществлять уходовые мероприятия. Как правило, топливо прогорает здесь полностью, поэтому все, что остается – вычистить золу.
Долговечность
Печные конструкции из кирпича при должном уходе могут служить вечно, поэтому важно соблюдать все требования при монтаже, следовать всем предписаниям.
Недостатки у кирпичных моделей также имеются.
В первую очередь, речь идет о тяжеловесности конструкции. Дровяная печь из кирпича весит в среднем 300 кг. Это накладывает определенные ограничения на то, где ее можно монтировать
Основание должно быть прочным и устойчивым.
Также необходимо будет уделить внимание укреплению стен. Если баня построена из дерева, стены вокруг печки нужно дополнительно защитить металлическими листами, поскольку дерево может не выдержать жара и загореться.
- Даже небольшая кирпичная конструкция занимает достаточно много места, поскольку кирпичные стенки толстые, если сравнивать с металлическими. В маленьких банях возвести по-настоящему функциональную печь будет проблематично.
- Кирпичную модель нужно время от времени реставрировать: проверять на наличие щелей, обновлять межшовный раствор и подобное.
- Для постройки дровяных печей из кирпича используется шамотный огнеупорный кирпич, а он довольно дорогостоящий. Так, возведение кирпичной печки обойдется в большую сумму, чем покупка готовой металлической.
Металлические печи пользуются большей популярностью. Их отличает ряд достоинств по сравнению с кирпичными.
Демократичная стоимость. Покупка и установка печки из металла намного дешевле, чем обустройство кирпичного аналога.
- Выборный дымоход. Существует несколько вариантов, каким сделать дымоход у металлических печей. Первый вариант – классическая труба, выводящая дым через потолок. Второй – через стену. Третий – дымоход из сэндвич-труб, который легче других в возведении и к тому же в разы дешевле.
- Быстрый набор температуры. В отличие от кирпичной, металлическую печь не нужно топить 8-10 часов, чтобы добиться необходимой температуры. Для получения высокой степени нагрева воздуха понадобится не более часа.
- Маленький размер. Металлическая конструкция во много раз меньше кирпичной, поэтому ее можно устанавливать даже в самых компактных банных постройках.
- Легкость монтажа. Установка и подключение печи из металла не вызовет особых сложностей. Это под силу даже новичку
Помимо приведенных достоинств, есть у металлических моделей и недостатки.
Необходимо уделить повышенное внимание требованиям пожарной безопасности. Корпус из металла нагревается сильнее, чем корпус из кирпича, что повышает риск возгорания.
Именно по этой причине необходимо экранировать стены, особенно из дерева
Для этих целей лучше всего использовать листовой огнеупорный материал (ПВТН), но подойдут и металлические панели.
Особой внимание стоит уделить обустройству дымохода. Его необходимо вывести правильно, перепроверить все несколько раз. В противном случае дым, идущий в баню вместо улицы, заполнит помещение и люди угорят.
Как выбрать идеальную печь для бани
Перечисленные особенности печей относятся к описанию их способности отдавать тепло и предоставлять те или иные возможности для владельца. Полный выбор модели нагревательной установки учитывает ее сугубо эксплуатационные характеристики. Печь нужно размещать, организовывать отвод продуктов сгорания, обеспечивать определенную длительность нахождения в парилке и так далее.
Тип бака
Большинство моделей печей для бани предлагаются с баком для воды, который представляет собой одно целое с корпусом. Такой несъемный блок удобен для небольшого количества людей в парилке. Воду можно долить. Однако если хочется обеспечить непрерывное нахождение большого количества пользователей в бане, рекомендуется остановить выбор на печи со съемным баком.
Тип топки
Дверка классической топки, как и отсек загрузки дров, находится непосредственно на корпусе печи. Это несколько неудобно, особенно если планируется сжигать твердое топливо. Дрова нужно приносить в парилку снаружи, чтобы они не отсырели. А значит, терять тепло и полезный пар.
Модели с выносной топкой устраняют такую проблему. Загрузка топлива происходит из соседнего помещения, комнаты отдыха. При этом можно получить дополнительное преимущество. Печь со стеклянной дверцей топки станет очень эстетичной и привлекательной деталью интерьера комнаты отдыха, радуя видом живого, яркого пламени.
Тип дымохода
Прямая вертикальная труба, уходящая от корпуса агрегата, обеспечивает максимальную тягу. Однако тепло продуктов сгорания можно использовать рационально. Решение с боковым дымоходом предлагает несколько возможностей:
- при отсутствии отопления в комнате отдыха, проходящая через нее труба дымохода послужит источником тепла;
- боковой дымоход можно вывести непосредственно наружу бани. Не потребуется ломать крышу для вывода трубы.
Температура корпуса
Классическая металлическая модель может нагреваться до большой температуры. С одной стороны это удобно — парилка быстро прогревается. Однако с другой стороны, невозможно контролировать предел температуры. Ситуация, когда помещение перегрелось, потребует проветривания и потери драгоценного пара и тепла. Это особенность работы так называемых горячих печей.
Корпус, нагреваемый до 40-50 градусов, гораздо предпочтительнее. Он не несет опасности ожога и не способен перегреть парилку. Холодные агрегаты оснащаются системой полых труб. Они соприкасаются со стенками топки. Потоки воздуха в них можно регулировать, управляя параметрами микроклимата. Парилка прогревается быстро, без опасности превышения температурой комфортного уровня.
Конвекция
Средства улучшения конвекции позволяет максимально быстро прогреть помещение. Самая простая схема элементов, обеспечивающих интенсивную циркуляцию воздуха, выглядит как двойной корпус. Его внешние стенки открыты сверху и снизу. Холодный воздух нагревается в канале и поднимается вверх.
Популярные конструкции Булерьян, предлагающие длительное горение одной закладки топлива, оснащаются полукруглыми трубчатыми ребрами. Механика их работы полностью аналогична системе двойного корпуса. Однако такие воздуховоды прочны и придают агрегату неповторимый внешний вид.
Форма модели
Если хочется оборудовать стационарную баню для постоянного использования, на форму печи стоит обратить пристальное внимание. Самые востребованные агрегаты выполняются в прямоугольных корпусах
Это удобно и достаточно универсально. Устройство будет отлично смотреться как у стены, так и в углу парилки. Прямоугольный корпус равномерно прогревается. Аналогично работают печи в виде вертикальных цилиндров. А вот при их горизонтальном расположении происходит неравномерный нагрев поверхности корпуса.
Растущую популярность приобретают треугольные конструкции. По мнению владельцев таких печей, они отлично вписываются в парилку, экономят место и одновременно повышают безопасность. Угол классически является мертвой зоной. Расположенную здесь треугольную (или более сложной формы) печь трудно задеть при перемещении.
Чем покрасить ОСБ внутри помещения своими руками
Банные печи из кирпича: последовательность работ
Как мы и обещали, вы сможете прикинуть свои возможности, познакомившись с этапами возведения печи в баню из кирпича.
Фундамент
Кирпичная печь в бане должна иметь фундамент. Вариантов нет: печку в баню из кирпича придется ставить на отдельный фундамент. Многие считают, что дело может обойтись фундаментом мелгозаглубленным, однако это не всегда так. Ориентироваться надо на то, какой вы делали под баню в целом. Ведь все сильно зависит от несущей способности грунта. При весе в несколько тонн кирпичная масса будет оказывать существенное давление на грунт, а он обычно проседает неравномерно, что становится причиной перекоса и разлома конструкции – стены или печи.
Совет! Почитайте наши материалы о фундаментах в соответствующем разделе сайта. Там вы найдете не только теорию, но и многочисленные практические рекомендации по возведению подходящего фундамента.
Главное – не забывайте о том, что нельзя соединять в единую конструкцию фундаменты бани и печки. Между ними принято оставлять зазор как минимум в 5 см.
Кирпичная печка для бани: раствор
ВАЖНО! Никакого цемента в раствор для печной кладки не кладут, это надо запомнить.
Остаются два ингредиента: глина и песок. А то и другое бывает разным по составу или калибру частиц. Песок просеивают через 1,5 мм сито. Что касается глины, то тут варианта два: либо накопать ее на собственном участке, либо купить мешок в магазине. В первом случае копать надо глубже полуметра, потому что именно с этой отметки начинается то, что может вам пригодиться.

Правило! Рекомендуется для раствора использовать тот же тип глины, что и в кирпиче, то есть – красная или шамотная. Причина в том, что однородные материалы имеют одинаковое тепловое расширение, а это хорошо в условиях сильного нагрева – одинаково расширились, одинаково сжались, никаких напряжений и деформаций.
Для кладки самым важным параметром глины будет то, жирная она или тощая. Это достаточно условные названия. Понять, с чем имеешь дело, можно только высушив комочек глины и глядя на результат. Тощая глина при высыхании норовит раскрошиться. Жирная ведет себя иначе: визуально комочек становится меньше размером и на нем появляются трещины.
Обратите внимание! При смешивании с песком жирность глины меняется, песок ее уменьшает. Именно поэтому точной пропорции не существует, она – результат подбора конкретных ингредиентов
Подбор осуществляется в виде следующего эксперимента: сделайте несколько образцов смесей глины и песка, обозначьте доли и дайте им подсохнуть. Если подсохшая лепешка крошится – песка избыток, если трескается – избыток глины. Оптима – это однородный, не растрескавшийся и не раскрошившийся образец.
Песок перед замешиванием не только просеивают через мелкое сито, но еще и промывают.
Кстати! Некоторые рецепты раствора содержат… поваренную соль в небольших количествах.
Сам кирпич – марки, виды
Когда планируется печка в парную, баню из кирпича, важную роль играет выбор самого основного строительного материала. Рекомендуем посмотреть ролик, в котором печник рассказывает, что можно найти в продаже, что получше на его взгляд.
Видео
От себя добавим, что неплохой критерий выбора – звук при ударе по кирпичу. Дефектов нет, если звук будет звонкий и металлический. Любая глухота – признак трещин.
Мы уже упоминали красный огнеупорный и шамотный кирпичи. Помимо них для печей годятся клинкерный и глиноземный жаропрочный. Дороже всех шамотный. Его используют только для выкладки топочного ядра печи. Прочие из перечисленных идут на кладку ее стен.
Марка (число) обозначает плотность. Печники используют от 150 до 250. Чем выше плотность, тем выше теплоемкость, тем дольше ждать, пока парная нагреется.
Морозостойкость материала не имеет значения внутри помещения, но на нее стоит обратить внимание, когда будете делать дымоход. Однородный цвет – хороший признак
Неоднородный говорит о неравномерном обжиге и, как следствие, разной прочности участков кирпича
Однородный цвет – хороший признак. Неоднородный говорит о неравномерном обжиге и, как следствие, разной прочности участков кирпича.
Геометрия – тоже не последний критерий при выборе. С правильной удобнее работать.
Важные правила монтажа каменки своими руками
Дверца топки должна быть направлена к выходу, а дверь каменки в противоположную сторону.
Если печь для бани с установленной закрытой каменкойбудет металлическая, необходимо под ней выполнить бетонное основание, которое обеспечит защиту от возгорания. Основание не ниже 30 см, далее укладывается минимум 2 ряда кирпича, соединенные глиняным раствором.
Монтировать печь из металла следует на заранее приготовленную основу
В месте, где будет выходить труба, в кладке печи должно быть утолщение минимум на 10-15 см.
Любые находящиеся в непосредственной близости от печи элементы из дерева важно изолировать теплоизоляционной основой. Далее на поверхность покрывается глиняным слоем.
Труба в месте прохождения через потолок и крышу обрабатывается штукатуркой, поверху промазывается известью.
Кладка для трубы в крыше не должна быть меньше полуметра высотой
Это создаст дополнительный барьер для прохождения искр, которые способны воспламенить конструкцию.

Схема печи с закрытым типом каменки
Конструкция металлической печи
В отличие от кирпичной печи металлический источник жара достаточно универсален. Эта универсальность во многом проявляется за счет разнообразия конструкций:
- Закрытые модели – очень компактные, предусматривают решетку для укладки камней, а также внутреннюю камеру для заполнения огнестойким материалом, способствующим теплостойкости;
- Открытые аналоги – выделяются емкостью для набора воды и открытым доступом к каменке;
- Комбинированные устройства – сочетают в себе элементы двух предыдущих образцов.

Также к комбинированным печам часто относятся модели, работающие за счет газа или электричества. Соответственно, угольные и дровяные печи – преимущественно безопасные закрытые и удобные открытые модели.

Принципы выбора
Как сделать потолок из пластиковых панелей
О чем говорит цена
Продолжаем выбирать лучшие печи для бани, теперь о ценах. Чем ниже цена, тем яснее, что производитель использовал для создания данного агрегата наименее качественные материалы. Например, это может быть оцинкованная сталь (сам по себе неплохой материал, конечно), конструкционная сталь. Также экономия могла быть произведена за счет толщины материала, за счет использования старых технологий.
Но значит ли это, что более дорогая печь будет сделана из качественного материала? Не факт. К примеру, существенную надбавку в цене печка может получить за счет кожуха из натурального камня. Он стоит дорого, а что внутри – надо разбираться отдельно. Поэтому не всегда недорогая печь – плохо.
Стоит заметить, что мнение, будто самая лучшая печь для бани – из Финляндии, нельзя полностью принимать на веру. Потому что финны, хоть и делают все качественно, но точно так же, как и все производители, склонны к экономии
Обращайте внимание на то, что пишут в каталогах – порой там честно признаются, что использовали оцинкованную или углеродистую сталь
Виды входных козырьков
Навесные полки
Видеоверсия статьи
Печь каменка – руководство по изготовлению
Предлагаем вашему вниманию 3 распространенных конструкции металлических печек для бани:
- простая горизонтальная печь из баллона, растапливаемая внутри парной;
- каменка из трубы 530 мм с выносным топливником;
- вертикальный банный котел «три в одном».

Первый вариант привлекателен простотой в изготовлении, небольшими размерами и мобильностью. Для самоделки потребуется старый пропановый баллон диаметром 300 или 500 мм и обрезки металлопроката. Второй отопитель отличается дополнительной секцией с дверцей, встраиваемой в проем стены парной, и открытой каменкой. Третья модель – это целый котел, состоящий из трех отсеков – топливника, закрытой каменки и бака для нагрева воды.

На чертежах — варианты отопительных агрегатов из листового железа
Свариваем простую печку
Первое, что нужно сделать, — правильно отрезать крышку баллона по заводскому шву. Для этого открутите рожковым ключом газовый вентиль и наполните емкость водой, после чего можно работать болгаркой.

Сборку отопителя выполняйте по представленному чертежу, соблюдая такой порядок:
- Вырежьте в торце крышки проемы для монтажа дверок и в корпусе под дымоходный патрубок. Из полос металла сделайте обрамления загрузочной и зольной дверцы, приварите их к проемам.
- Соберите на сварке колосниковую решетку и поставьте ее на уголки, закрепленные внутри баллона. Приварите отрезанную крышку на место.
- Изготовьте створки, как показано на фото. Установите их на петли и прикрепите запоры.
- Приделайте к корпусу ножки и дымоходный патрубок.

После сборки печка для бани из газового баллона растапливается на улице с целью выжечь всю старую краску. Затем ее можно обезжирить и окрасить заново, используя термостойкий состав серии КО.
Изготовление агрегата с выносной топкой
Чтобы сделать такую печь, нужно заготовить детали из металла и подрезать трубу в размер, ориентируясь по чертежу:

Дальнейшие работы выполняйте по инструкции:
- Вырежьте в верхней части трубы отверстие, приварите к нему патрубок дымохода, а снизу топливника — ножки. Поставьте колосники, как описывается в предыдущем разделе.
- Изготовьте переднюю секцию и сваркой прикрепите ее к топке. К тыльному торцу корпуса приварите глухой диск из металла.
- Сделайте утепленные базальтовой ватой дверцы с ручками и установите их на место.

Сверху к готовой печке осталось приварить раму для каменки из уголков, обшитых крупноячеистой металлической сеткой. После обжига, окрашивания и монтажа в бане по месту наполните сетку специальными камнями из списка:
- базальт;
- галька речная;
- габбро-диабаз;
- талькохлорит.
Как на практике изготавливается похожая банная печь, подробно рассказывается на видео:
Делаем вертикальный котел
Особенность круглого агрегата, представленного на чертеже – наличие 3 камер – топливной, каменки и водяного бака. Их величина может варьироваться по вашему желанию, например, чем большие размеры топки вы сделаете, тем дольше будет гореть 1 закладка дров. Увеличение каменки позволит аккумулировать больше тепла, выделяющегося продолжительное время после прогорания топлива.

Порядок сборки котла выглядит так:
- Вырежьте заготовки перегородок, дна и крышки из металла толщиной не менее 5 мм. Подготовьте торцы трубы и сварите колосники круглой формы.
- В корпусе выполните проемы для дверок и люка загрузки камней.
- Сделайте в перегородках отверстия для дымохода и установите их внутри трубы. Крышку бака закрепите на петлях.
- Изготовьте дверцы из полукруглых вырезанных кусков и поставьте их на навесы.
- Установите дымоходный канал и кран для слива воды в нижней части бака.

При желании даже в этой печи можно сделать выносную топку. Для этого нужно нарастить загрузочный и зольный канал, приваривая сбоку к трубе заготовки из металла требуемой ширины, как изображено выше на фото. Правильная сборка подобного теплогенератора детально показана на следующем видео:
























































